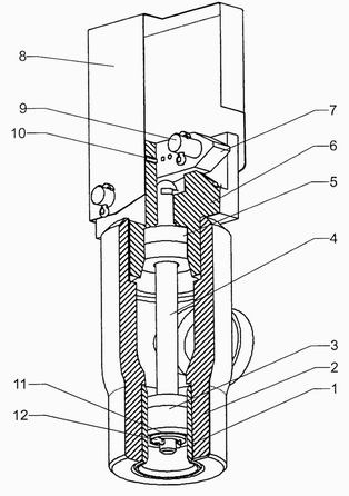
Клапан предохранительный КС-10.12.00.000Клапан предохранительный КС-10.12.00.000

Обозначение
Наменование
Кол.
1
ЦН-0203 Втулка
1
2
КС-10.08.00.000 Корпус клапана
1
3
ЦН-0206 Уплотнение
1
4
КС-10.08.00.016 Шток
1
5
ЦН-0205 Амортизатор
2
6
КС-10.12.00.002-01 Крышка клапана
1
7
КС-10.12.00.001-02 Рычаг
1
8
КС-10.12.00.003 Кожух
1
9
  Ось 2-10в12х50
2
10
КС-10.00.00.013 Шпилька предохранительная
1
11
  Шайба 10-04.06
1
12
  Шплинт 3,2х18
6

 

Клапан предохранительный КС-10.12.00.000

Вернуться на главный раздел

 

 

Используются технологии uCoz